НАКОНЕЧНИКИ БОЛТОВЫЕ 2НБ

Алюминиевые кабельные наконечники, закрепляемые болтами со срывной головкой, предназначены для оконцевания проводов и кабелей с алюминиевыми жилами сечением от 10 до 1000 мм2 и напряжением до 35 кВ.
При заказе наконечников со срывным болтом ОБЯЗАТЕЛЬНО уточняйте чертеж.
| Марка | Сечение, мм2 | Размеры, мм | Масса, кг | ||||||
| наконечник | болт | ||||||||
| L1 | L2 | d1 | d2 | d3 | d4 | S | |||
| 1НБ 10-25 | 10, 16, 25 | 50 | 7 | 9 | 16 | М8х1,25 | 6 | 12 | 0,020 |
| 2НБ 25-50 | 25, 35, 50 | 70 | 34 | 12 | 20 | М12х1,25 | 10 | 12 | 0,045 |
| 2НБ 70-120 | 70, 95, 120 | 80 | 42 | 17 | 27 | М16х1,5 | 12 | 17 | 0,080 |
| 2НБ 150-240 | 150, 185, 240 | 100 | 53 | 23 | 37 | М16х1,5 | 12 | 17 | 0,180 |
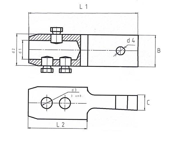
НАКОНЕЧНИК БОЛТОВОЙ 3НБ 300/400-1п, 5НБ 500/625-1п, 5НБ 800-1п, 5НБ 1000-1п
НАКОНЕЧНИК БОЛТОВОЙ 5НБ-1000-4п
| Марка | Сечение, мм2 | Количество болтов |
Размеры, мм | Масса, кг | |||||||
| L1 | L2 | d1 | d2 | d3 | d4 | B | C | ||||
| 3НБ 300/400-1п | 300, 400 | 3 | 134 | 70 | 27 | 40 | М16х1,5 | 12,5 | 40 | 16 | 0,340 |
| 5НБ 500/625-1п | 500, 625 | 5 | 180 | 110 | 34 | 50 | М16х1,5 | 16,5 | 50 | 16 | |
| 5НБ 800-1п | 800 | 5 | 180 | 110 | 38 | 60 | М16х1,5 | 16,5 | 60 | 20 | |
| 5НБ-1000-1п | 1000 | 5 | 180 | 110 | 39 | 65 | М16х1,5 | 16,5 | 65 | 20 | |
| 5НБ-1000-4п | 1000 | 5 | 245 | 100 | 39 | 65 | М16х1,5 | 16,5 | 80 | 20 | |
Частное предприятие "Мет-Ал"


